特点
●T:夹具爪旋180度
●选购R∶左右旋出入60-90度
●引拔部分采用可调手柄,无需工具即可轻松调整
●手臂采用高强度铝合金结构梁配合精密线性滑轨,低噪间,寿命长
操作器
●中/英文切换
●8组内建程式
●50组模具记忆
●12组教导模式
●选购CE规格
●可指示操作时间为0.01秒的细微动作●预留接点可连接输送带、承接台等外围设备
规格
| 机型 | LV-350 | LV-450 | LV-550 | LV-650 |
| 适用机型 | 20-30 | 30-60 | 50-100 | 80-150 |
| 侧入行程 | 350 | 450 | 550 | 650 |
| 上下行程 | 125 | |||
| 旋出角度 |
标准无旋转/选购 T:60°-90° |
|||
| 夹具旋转角度 |
标准无旋转/选购T:swing for 180 degree |
|||
| 最大负荷 | 1 | |||
| 取出时间 | 0.6 | 0.7 | 0.8 | 0.9 |
| 全循环时间 | 3.8 | 4 | 4.2 | 4.4 |
| 空气消耗量 | 4 | 4.5 | 4.8 | 5.2 |
| 净重 | 20 | 22 | 24 | 26 |
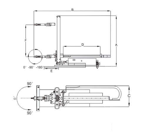
尺寸

| Model | A | B | B(max) | C | D | E | F |
| LV-350 | 605(685) | 105(185) | 405(485) | 350 | 295(335) | 135 | 1010(1050) |
| LV-450 | 450 | 1100(1150) | |||||
| LV-550 | 550 | 1130(1170) | |||||
| LV-650 | 650 | 1230(1270) |